热销产品
联系我们
靖江市恒信泵业有限公司
电话:0523-84328210
传真:0523-84320766
邮箱:hx@jjhxby.cn
地址:江苏省靖江市新桥工业园区
一、概述
FY型系列化工液下泵是立式单级单吸离心泵。用于输送不含固体颗粒和不易结晶的有腐蚀液体。被输送介质温度-20℃ -150℃。特殊需要时可为-50℃ -150℃。液下泵工作部分淹没在液体内,轴封无泄漏现象。且占地面积小,使用可靠,维修方便,耐腐蚀性能强等特点。广泛适用于化工。石油等工业部门。
二、泵型号意义说明

H-HT200 B-1Cr18Ni9Ti M-Cr18Ni12Mo2Ti
本公司新研制出高温泵,最高使用温度400℃。
三、结构说明
FY型液下泵主要由泵体、泵盖、叶轮、轴、弹性联轴器、管法兰、导轴承、中间接管、出液管、轴承架、底板、电机架等另件组成。
泵的吸入口顺着轴线方向,出口与轴线平行。
泵的转向自吸入口向电动机端看去,为顺时针方向旋转。
FY型泵的立式电动机以螺栓固紧于电机座上,并通过弹性联轴器与泵直接传动、泵体、中间接管、泵架、出液管、管法兰,以螺栓联接构成一起,固定在底板上,泵的整体通过底板安装在容器上。FY型泵除去触液部件外其它主要另件,如电机座。泵架。底架等均用铸铁制造。
泵的轴向力与径向力,(包括泵运转中所产生的水压力,叶轮及转子重量等),均由轴承盒内所装单向推力球轴承,单列向心球轴承;以及滑动导轴所承受为保证泵安全正常运转。轴承以黄油润滑之,导轴承所输送的液体润滑。因此,工作时液面必须高于叶轮中心线。
FY型泵采用软填料密封为基本密封形式并于填料环处通以黄油,保证填料正常工作延长使用寿命,黄油中宜加入适量二硫化钼。
此外,FY型耐腐蚀液下离心泵系列,因伸入容器长度L的长短不同,则又分为中间导轴承之结构和无中间导轴承的结构。
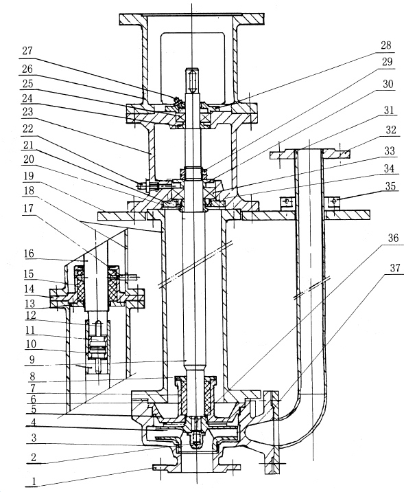
FY型液下泵剖面图
零件单:
1、泵 体 2、 叶 轮 螺 母 3、 叶 轮 4、 垫 片 5、 泵 盖 6、 立 柱 管 7、 导 轴 管 8、 导 轴 承 压 盖 9、 泵 轴 10、 传 动 套 11、 联 接 套 12、 键 13、 中 间 导 轴 承 压 盖 14、 中 间 导 轴 承 座 15、 中 间 导 轴 承 16、 泵 轴 17、 润 滑 液 管 路 18、 立 柱 管 19、 支 承 座 20、 甩 液 套 21、 下 轴 承 压 盖 22、 黄 油 杯 23、 轴 承 座 24、 上 轴 承 档 圈 25、 轴 承 26、 电 机 座 27、 黄 油 杯 28、 上 轴 承 压 盖 29、 锁 紧 螺 母 30、 下 轴 承 挡 圈 31、 出 液 管 32、 出 液 口 法 兰 33、 轴 承 34、 油 封 35、 对 半 法 兰 36、 键 37、 垫 片 38、 下 轴 承 压 盖
四、主要性能参数表
| 序号 | 型号 | 转速 n |
流量Q | 扬程 H |
效率 η |
转速 n |
流量Q | 扬程 H |
效率 η | |||
| 新 | 旧 | r/min | m3/h | L/S | 米 | % | r/min | m3/h | L/S | 米 | % | |
| 1 | 25FY-41 | 1FY-2 | 2980 | 3.6 | 1 | 41 | 16 | 1430 | 1.8 | 0.5 | 10 | 14 |
| 2 | 25FY-25 | 1FY-3 | 25 | 21 | 6.3 | 18 | ||||||
| 3 | 25FY-16 | 1FY-4 | 16 | 22 | 3.9 | 20 | ||||||
| 4 | 40FY-40 | 1.5FY-3 | 7.2 | 2 | 40 | 31 | 3.6 | 1 | 9.9 | 27 | ||
| 5 | 40FY-26 | 1.5FY-4 | 26 | 35 | 6.4 | 32 | ||||||
| 6 | 40FY-16 | 16 | 40 | 3.9 | 37 | |||||||
| 7 | 50FY-40 | 2FY-4 | 14.4 | 4 | 40 | 42 | 7.2 | 2 | 9.9 | 27 | ||
| 8 | 50FY-25 | 2FY-6 | 25 | 50 | 6.3 | 45 | ||||||
| 9 | 50FY-16 | 2FY-6 | 16 | 53 | 3.9 | 48 | ||||||
| 10 | 65FY-40 | 2.5FY-6 | 28.8 | 8 | 40 | 52 | 14.4 | 4 | 9.9 | 48 | ||
| 11 | 65FY-25 | 2.5FY-9 | 25 | 55 | 6.3 | 50 | ||||||
| 12 | 65FY-16 | 2.5FY-12 | 16 | 58 | 3.9 | 55 | ||||||
| 13 | 80FY-38 | 3FY-9 | 54 | 15 | 38 | 62 | 27 | 7.5 | 9.5 | 55 | ||
| 14 | 80FY-24 | 3FY-12 | 24 | 65 | 6.0 | 60 | ||||||
| 15 | 80FY-15 | 15 | 66 | 3.8 | 61 | |||||||
| 16 | 100FY-57 | 4FY-12 | 100.8 | 28 | 57 | 63 | 50.4 | 14 | 14.3 | 62 | ||
| 17 | 100FY-37 | 37 | 69 | 9.1 | 65 | |||||||
| 18 | 100FY-23 | 23 | 70 | 5.6 | 67 | |||||||
| 19 | 150FY-35 | 1480 | 190.8 | 53 | 35 | 72 | 980 | 126.3 | 35.1 | 15.2 | 68 | |
| 20 | 150FY-22 | 22 | 72 | 9.6 | 68 | |||||||
| 21 | 200FY-34 | 360 | 100 | 34 | 72 | 238.3 | 66.2 | 14.7 | 68 | |||
| 22 | 200FY-21 | 21 | 73 | 9.2 | 69 | |||||||
注:1、表列数据是常温时清水的性能,选用时按实换算。
2、液下深度(也称接管长度)。
五、主要易损件
1、轴套
|
型号 |
D |
d |
d1 |
d2 |
L |
L1 |
H |
|
25-50FY |
38f7 |
28H7 |
22H7 |
50 |
5 |
6S7 |
24.8+0.2 |
|
65-100FY |
45f7 |
35H7 |
28H7 |
55 |
5 |
8S7 |
31.5+0.2 |
|
150-200FY |
75f7 |
60H7 |
46H7 |
135 |
15 |
14S7 |
51+0.2 |
材质:不锈钢泵为1Cr18Ni9Ti 铸铁泵为HT200
2、下护轴套
|
型号 |
D |
D1 |
d1 |
L |
L1 |
R |
材质 |
|
25-50FY |
74 |
50h5 |
38E7 |
40 |
45 |
3 |
聚四氟乙烯 |
|
65-100FY |
100 |
60h5 |
45E7 |
40 |
45 |
4 | |
|
150-200FY |
140 |
100h5 |
75E7 |
125 |
132 |
5 |
六、可能发生的故障及消除方法
|
故 障 |
原 因 |
消除方法 |
|
打不出液体 |
1、电机转向不对 |
1、更改转向 |
|
2、液体末浸没叶轮中心线 |
2、调正浸没高度 | |
|
流量不足 |
1、叶轮腐蚀严重 |
1、更换叶轮 |
|
2、转速不足 |
2、提高转数 | |
|
3、叶轮与泵盖间隙过大 |
3、重新调整间隙 | |
|
4、吸入或压出口部分堵塞 |
4、消除淤塞部分 | |
|
扬程不足 |
1、输送的液体中含有气体 |
1、降低液体温度排除气体 |
|
2、叶轮被严重腐蚀 |
2、更换叶轮 | |
|
3、转速不足 |
3、增加转数 | |
|
功率过载 |
1、流量超过使用范围 |
1、按泵使用范围进行运转 |
|
2、介质比重过大 |
2、更换较大功率电机 | |
|
3、产生机械摩擦 |
3、检查摩擦处,调整或更换磨损另件 | |
|
4、填料压得过紧 |
4、调整填料压盖 | |
|
轴承发热 |
1、泵轴与电机轴不同心 |
1、调整同心 |
|
2、轴承盒内缺油或油变质 |
2、加油或换油 | |
|
杂音或振动 |
1、泵轴与电机轴不同心 |
1、调整同心 |
|
2、输送液体中含有气体 |
2、降低液体温度排除气体 | |
|
3、转子不平衡 |
3、更换零件 | |
|
4、螺母有松动现象 |
4、拧紧各部位螺母 | |
|
5、水轴承与轴颈磨损过大 |
5、更换水轴承恢复轴颈 |
七、装拆、安装、起动和运转
1、泵的拆卸顺序:
(1)关闭压出管路中的闸阀,卸掉出液管处上部分半法兰的联接螺栓或联接节管。拆掉一段管路,其长度以不妨碍泵的起吊为准。
(2)松开电机架与电机的联接螺栓,吊去电动机。
(3)松开底板和容器联接螺栓,连同底板把泵从容器中吊出。并以清水冲洗干净,为防止空气氧化锈蚀,应立即拆卸。
(4)拆下泵盖,旋出叶轮螺母(左旋螺母),取下叶轮。平键。
(5)拆下泵体,取出导轴承,下护轴套。
(6)拆下联接于底板的出口管分半法兰。
(7)拆下中间接管。(如有中间导轴承,则一并拆下)。
(8)拆下底板,取下泵联轴器。键,拆开轴承压盖。轴档及填料压盖把泵轴体取出。
(9)拆下滚珠轴承和上护轴套。
2、泵的装配顺序与拆卸顺序相反。
3、泵的吸入口到容器底部之距离为1.5~2倍,及入口径四周不应小于2.5倍。
4、泵的出液管路,应另设支架支撑,其重量不允许支撑在泵体上。
5、起动。停车和运转。
(1)盘动联轴器,检查有否轻重不匀,否则找出原因,待消除后再运转。
(2)检查电动机的转向,使之与泵的规定旋转方向相同。
(3)关闭出口管路上的闸阀及压力表。
(4)起动电机,开压力表,慢慢开启出口管路闸阀到需位置,投入正常运转。
(5)正常停车,应先关闭出口闸阀。然后停止电动机,关闭压力表。
(6)轴承盒内保证足够的黄油,轴承温升不得高于70℃。
[上一个: MN109系列]
[下一个: MN7系列]








苏公网安备 32128202000215号